点赞
评论
收藏
分享
当前位置:
专利申请通过 奥迪在华推虚拟后视镜?
李争光
原创 · 0浏览·2020-04-19 06:00关注
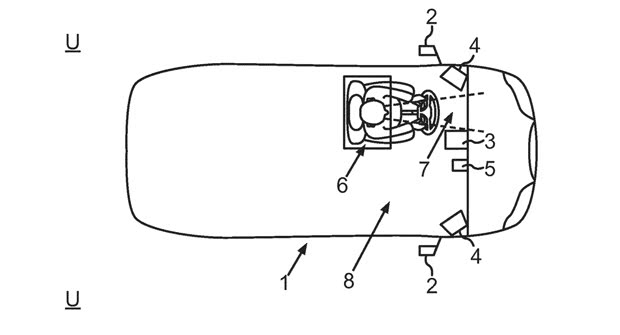
[汽车之家 行业] 后视镜是汽车重要部件之一,关乎汽车行驶安全。不过,后视镜也会增加车辆风阻和风噪,因此近年来“虚拟后视镜”概念十分流行。日前,汽车之家从国家知识产权局获悉,奥迪在华申请的虚拟后视镜专利获批,这给虚拟后视镜车型未来在中国道路合法行驶,带来了诸多猜想。

1911年,人们给车辆装上后视镜,为提高车辆行驶安全起到了重要作用。但是,汽车后视镜也存在不少问题。比如,行驶过程中车辆风阻会增大,也会带来风噪。此外,传统后视镜会带来视觉盲区。再则,雨雪天气也会使得后视镜镜面模糊不清。
虚拟后视镜可以克服这一系列问题。虚拟后视镜不受雨雪天气影响,适应性更强。也可以智能调节亮度,避免夜间行驶光线不足的问题。当然,虚拟后视镜和传统后视镜相比价格比较高。同时,由于各国法律限制,虚拟后视镜还不能大量装配在量产车型上。目前,只有少数国家允许虚拟后视镜车辆合法上路,国内尚不允许使用虚拟后视镜。
据悉,e-tron是奥迪旗下首款采用虚拟后视镜的车型,但国内在售奥迪e-tron(参数|询价)只有传统光学后视镜。此次奥迪虚拟后视镜专利申请在中国正式通过,或许预示着未来国内市场会有奥迪车型用上虚拟后视镜。(文/汽车之家 李争光)
文章标签
点赞
评论
收藏
分享
举报/纠错
作者其他作品
e-tron Concept相关视频
更多
扫码下载汽车之家App
© 2026 汽车之家 www.huanglqi.top
京公网安备 11010802000104号
京ICP备09113703号-1
信息网络传播视听节目许可证: 0110553
广播电视节目制作经营许可证
公司名称:北京车之家信息技术有限公司
中央网信办违法和不良信息举报中心
违法和不良信息举报电话:400-868-5856
举报邮箱:jubao@autohome.com.cn
京ICP备09113703号-1
信息网络传播视听节目许可证: 0110553
广播电视节目制作经营许可证
公司名称:北京车之家信息技术有限公司
中央网信办违法和不良信息举报中心
违法和不良信息举报电话:400-868-5856
举报邮箱:jubao@autohome.com.cn




