点赞
评论
收藏
分享
问编辑
当前位置:
丰田汽车申请双涡轮增压V8发动机专利
李娜-车闻
关注
[汽车之家 资讯] 从当下的情势来看,丰田似乎没有像以前那样专注于在旗下车型上搭载V8发动机。要知道,即便是雷克萨斯LS,其配备的也只是V6发动机。甚至此前还有传言称,下一代丰田坦途也要放弃使用V8发动机,进而更倾向于使用双涡轮增压V6发动机。但是!根据最新的消息来看,双涡轮增压V8极大可能应用在雷克萨斯产品上,这样的猜测并非没有依据,在丰田公布的2020年专利便证明了这一点。


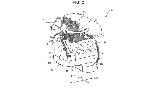
在海外论坛上曝光了丰田在2020年9月提交的专利申请。不同于常规的涡轮增压发动机,丰田全新的V8发动机将涡轮位置放置在了更靠近进气歧管的位置,从而可以提升油门响应速度并降低涡轮迟滞。该专利中的细节还表明,单涡轮布局也是可行的,因此丰田理论上可以提供两种不同版本的发动机,以适应不同的功率和效率要求。外媒预计双涡轮增压发动机至少具有608马力(447千瓦)的功率。
值得注意的是,虽然丰田申请了新专利,但并不意味着丰田将会在某款车型上使用新专利的产品。不过,外媒报道称,新的发动机产品将应用在下一代雷克萨斯的高性能汽车中,例如雷克萨斯LS F、LC F和IS F(参数|询价)。
不仅如此,新发动机也可能不仅限于雷克萨斯,它还可能会搭载在下一代丰田坦途的高性能越野版本上。从而能够与福特F-150 Raptor和Ram 1500 TRX一较高下。(消息来源;motor1;编译/汽车之家 李娜)
文章标签
点赞
评论
收藏
分享
举报/纠错
作者其他作品
进入主页
雷克萨斯GS F相关视频
更多
扫码下载汽车之家App
© 2026 汽车之家 www.huanglqi.top
京公网安备 11010802000104号
京ICP备09113703号-1
信息网络传播视听节目许可证: 0110553
广播电视节目制作经营许可证
公司名称:北京车之家信息技术有限公司
中央网信办违法和不良信息举报中心
违法和不良信息举报电话:400-868-5856
举报邮箱:jubao@autohome.com.cn
京ICP备09113703号-1
信息网络传播视听节目许可证: 0110553
广播电视节目制作经营许可证
公司名称:北京车之家信息技术有限公司
中央网信办违法和不良信息举报中心
违法和不良信息举报电话:400-868-5856
举报邮箱:jubao@autohome.com.cn


