点赞
评论
收藏
分享
当前位置:
更加轻便 曝保时捷主动式扩散器新专利
刁昊
原创 · 0浏览·2017-04-30 09:29关注
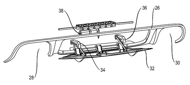
[汽车之家 新闻] 4月27日,保时捷向美国专利与商标局递交了一项最新的专利申请,该专利内容为一款全新的主动式尾部扩散器,未来这一配置或将取代现有的传统尾部扩散器。虽然目前在售的部分保时捷车型已经配备了主动式扩散器,但现有产品比较笨重,而且其与车辆底盘的结合度表现不佳。

从设计图中我们可以看到,这项新设计可以支持将尾部扩散器直接安装在保险杠下方,且只有当扩散器启用时才能够被观察到。由于扩散器采用了弧形设计,因此在不启用时,其可以与车尾设计融为一体,被完美地隐藏起来。

对于排气布局不同的车型,保时捷提供了多种解决方案,左右双出排气搭配中置扩散器,中置排气搭配左右双片式扩散器,而对于以后将会推出的纯电动车型而言,扩散器的尺寸可以覆盖整个后保险杠下沿,其提供的额外下压力也将更大。
对于主动式空气动力学部件而言,保时捷的主动式尾部扩散器并非头一家。举例来说,兰博基尼已经将旗下ALA主动式空气动力系统应用到了Huracan Performante车型上,这项配置也协助该车以6分52秒01的成绩击破了纽伯格林北环赛道量产车圈速记录。
不过,并非所有专利申请都将成为现实。例如保时捷曾在2015年申请了可变压缩比发动机专利,可该专利迟迟未能应用。要知道,同样配有可变压缩比技术的英菲尼迪VC-T 2.0T发动机已经准备在2018年投入量产了。(消息来源:motorauthority、autoevolution;编译/汽车之家 刁昊)
文章标签
点赞
评论
收藏
分享
举报/纠错
作者其他作品
扫码下载汽车之家App
© 2026 汽车之家 www.huanglqi.top
京公网安备 11010802000104号
京ICP备09113703号-1
信息网络传播视听节目许可证: 0110553
广播电视节目制作经营许可证
公司名称:北京车之家信息技术有限公司
中央网信办违法和不良信息举报中心
违法和不良信息举报电话:400-868-5856
举报邮箱:jubao@autohome.com.cn
京ICP备09113703号-1
信息网络传播视听节目许可证: 0110553
广播电视节目制作经营许可证
公司名称:北京车之家信息技术有限公司
中央网信办违法和不良信息举报中心
违法和不良信息举报电话:400-868-5856
举报邮箱:jubao@autohome.com.cn




