点赞
评论
收藏
分享
当前位置:
共享电池组 苹果申请自动驾驶汽车专利
姜田双
原创 · 0浏览·2018-10-26 10:55关注
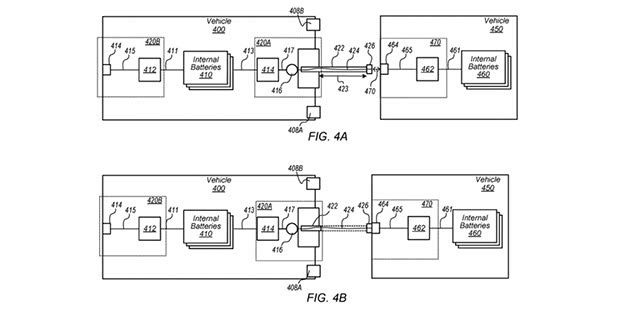
[汽车之家 新闻] 最近一段时间苹果公司连续提交多个关于汽车的专利申请,苹果造车的消息似乎变得更扑朔迷离了。日前,苹果公司向美国专利局苹果向美国专利商标局(US Patent and Trademark Office)提交了一系列自动驾驶技术专利,该系列专利可让多辆自动驾驶汽车通过“连接臂”共享电池组,从而达到提高效率的目的。


苹果公司将这一系列自动驾驶专利命名为“Peloton”,该专利通过“连接臂”连接自动驾驶车辆,让这些车辆形成一个车队,并共享电池组。在Peloton团队中,将有一辆车是领头车,可以高效地控制在其后面连接的车,对于车队中其他车辆来说,它们可以保持速度同时减少燃料的使用。苹果表示,其Peloton技术可用于两辆自动驾驶汽车,但是车辆越多,分享的电池功率就越高,风阻得以分散,车队的效率就会更高。
相互连接的自动驾驶车队会有一个问题,就是不是Peloton团队中的每辆车都会前往同一个目的地。苹果对此有一个解决方案,让车辆之间可以互相通信,并根据每辆车到目的地的距离来规划组织Peloton团队。(消息来源:electrive;编译/汽车之家 姜田双)
文章标签
点赞
评论
收藏
分享
举报/纠错
作者其他作品
扫码下载汽车之家App
© 2026 汽车之家 www.huanglqi.top
京公网安备 11010802000104号
京ICP备09113703号-1
信息网络传播视听节目许可证: 0110553
广播电视节目制作经营许可证
公司名称:北京车之家信息技术有限公司
中央网信办违法和不良信息举报中心
违法和不良信息举报电话:400-868-5856
举报邮箱:jubao@autohome.com.cn
京ICP备09113703号-1
信息网络传播视听节目许可证: 0110553
广播电视节目制作经营许可证
公司名称:北京车之家信息技术有限公司
中央网信办违法和不良信息举报中心
违法和不良信息举报电话:400-868-5856
举报邮箱:jubao@autohome.com.cn

