点赞
评论
收藏
分享
当前位置:
或提升产能 特斯拉公布新布线结构专利
尤冬青
原创 · 0浏览·2019-07-24 11:36关注
[汽车之家 新闻] 日前据外媒报道,特斯拉在最近的一份专利申请中表示,该公司研发出了一种新的车辆布线架构,特斯拉CEO马斯克称该专利有望使Model Y的线束总长度不超过100米,从而提升产能。

『特斯拉Model Y』
车辆中的线束连接着各个电子元件,据悉,特斯拉Model S(参数|询价)的线束总长为3km,Model 3的线束总长为1.5km,但车辆生产线的机器人并不擅长铺设冗长的软线束,导致还需人工再介入该生产流程,拖慢生产进度。


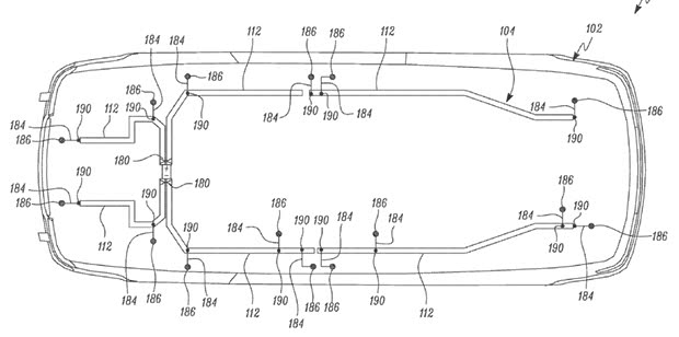
『专利图』
特斯拉在新专利中称,新的方案为把更硬的线束创建成带控制器的子组件,机器人只需把子组件与子系统连接即可;如此类似于“模块化”的做法可减少线缆数量,同时方便了机器人进行组装,这也就直接减少了生产成本,提升了生产效率。(消息来源:electrek;文/汽车之家 尤冬青)
文章标签
点赞
评论
收藏
分享
举报/纠错
作者其他作品
Model S相关视频
更多
扫码下载汽车之家App
© 2026 汽车之家 www.huanglqi.top
京公网安备 11010802000104号
京ICP备09113703号-1
信息网络传播视听节目许可证: 0110553
广播电视节目制作经营许可证
公司名称:北京车之家信息技术有限公司
中央网信办违法和不良信息举报中心
违法和不良信息举报电话:400-868-5856
举报邮箱:jubao@autohome.com.cn
京ICP备09113703号-1
信息网络传播视听节目许可证: 0110553
广播电视节目制作经营许可证
公司名称:北京车之家信息技术有限公司
中央网信办违法和不良信息举报中心
违法和不良信息举报电话:400-868-5856
举报邮箱:jubao@autohome.com.cn

