点赞
评论
收藏
分享
问编辑
当前位置:
苹果获新专利 用车载摄像头解决A柱盲区
李娜-车闻
关注
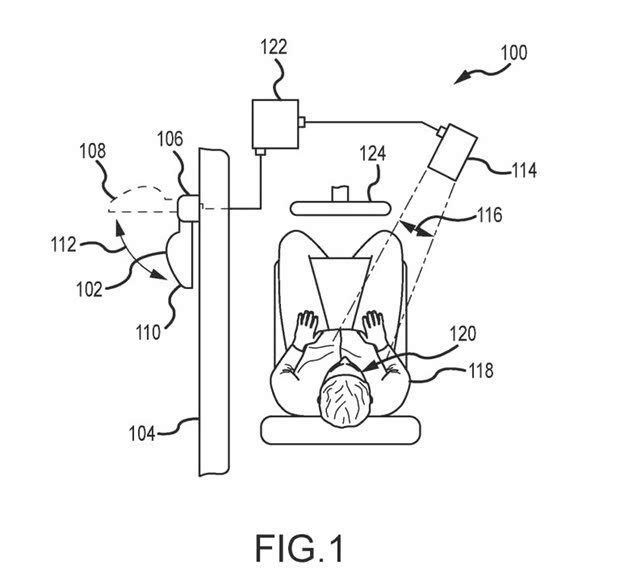
[汽车之家 行业] 如何有效避免驾驶员因视线盲区而造成的交通意外?据外媒报道,近日,苹果公司获得了一项新的专利。通过摄像头将周围环境记录下来,并且同步投射到车窗或挡风玻璃上,让驾驶员能够看到被A柱阻挡的环境,消除汽车的盲区。

除此之外,安装在挡风玻璃上的摄像头还可以对驾驶员的面部进行识别,检测驾驶员的面部表情,通过识别驾驶员的面部表情,车辆的后视镜会在合适的时候缩回或伸出。

此前曾有一位名叫Alaina Gassler的14岁小女孩发明了一种相似的办法。她的解决办法是,在汽车A柱外部增加一个摄像头,然后把画面投射到A柱内部,使A柱“透明化”。虽然Alaina Gassler方法与苹果专利类似,但后者专利申请的时间是2016年,且技术更为复杂,同时对于车窗也有较高要求。

据称,苹果公司的这项专利既可以用于普通驾驶也可以用于自动驾驶,不过,这项专利究竟能否会顺利出现在苹果汽车上,仍有待观察。(消息来源:digitaltrends;编译/汽车之家 李娜)
文章标签
点赞
评论
收藏
分享
举报/纠错
作者其他作品
进入主页
扫码下载汽车之家App
© 2026 汽车之家 www.huanglqi.top
京公网安备 11010802000104号
京ICP备09113703号-1
信息网络传播视听节目许可证: 0110553
广播电视节目制作经营许可证
公司名称:北京车之家信息技术有限公司
中央网信办违法和不良信息举报中心
违法和不良信息举报电话:400-868-5856
举报邮箱:jubao@autohome.com.cn
京ICP备09113703号-1
信息网络传播视听节目许可证: 0110553
广播电视节目制作经营许可证
公司名称:北京车之家信息技术有限公司
中央网信办违法和不良信息举报中心
违法和不良信息举报电话:400-868-5856
举报邮箱:jubao@autohome.com.cn

