点赞
评论
收藏
分享
当前位置:
全电力驱动 保时捷提交飞行汽车专利
姜田双
原创 · 0浏览·2020-01-13 17:23关注
[汽车之家 新能源] 日前据外媒报道,保时捷向美国专利局提交了关于电动飞行器的专利,该专利或将是保时捷和波音公司即将要合作制造的飞行汽车。




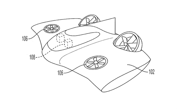
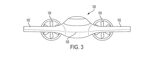
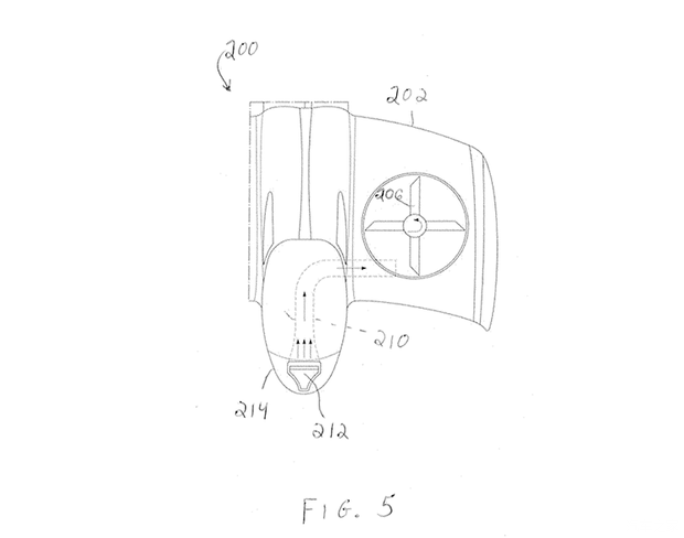
从保时捷提交的专利来看,该飞行器具有VTOL(垂直起降)能力,四个大型螺旋给飞行器助力,这些螺旋桨中的两个螺旋桨面可向下翻转以提供推动力,从而使车辆脱离地面,然后螺旋桨可以旋转90度以推动飞行器向前,飞行器目前仅有一间可容纳两个人的小客舱。该专利描述:“可以使用包括不同尺寸的多个风扇代替自由移动的转子来驱动飞机。”该专利还提到该飞行器将全靠电力驱动。

『外媒绘制假想图』
2019年10月保时捷和波音公司签署了谅解备忘录,其中一部分就是两家公司将“城市交通扩展到空中领域。”这次专利的曝光有外媒猜测或将为两家公司共同开发的VTOL空中飞机。实际上汽车企业对于空中飞机的探索一直没有停歇,现代和Uber公司合作,计划推出空中飞行出租车,而中国品牌吉利也在这个领域颇有研究。(消息来源:carscoops;编译/汽车之家 姜田双)
文章标签
点赞
评论
收藏
分享
举报/纠错
作者其他作品
扫码下载汽车之家App
© 2026 汽车之家 www.huanglqi.top
京公网安备 11010802000104号
京ICP备09113703号-1
信息网络传播视听节目许可证: 0110553
广播电视节目制作经营许可证
公司名称:北京车之家信息技术有限公司
中央网信办违法和不良信息举报中心
违法和不良信息举报电话:400-868-5856
举报邮箱:jubao@autohome.com.cn
京ICP备09113703号-1
信息网络传播视听节目许可证: 0110553
广播电视节目制作经营许可证
公司名称:北京车之家信息技术有限公司
中央网信办违法和不良信息举报中心
违法和不良信息举报电话:400-868-5856
举报邮箱:jubao@autohome.com.cn

