点赞
评论
收藏
分享
当前位置:
飞来车祸?快看看本田的行人保护系统
李争光
原创 · 0浏览·2020-05-26 06:05关注
[汽车之家 行业] 当汽车发生碰撞时,汽车安全带、安全气囊会保护驾乘人员。假如车辆碰到行人时,如果有保护系统发挥作用,那么就能减轻对外部行人的伤害。日前,据外媒报道,本田汽车公司申请了一项保护行人的安全气囊新专利。

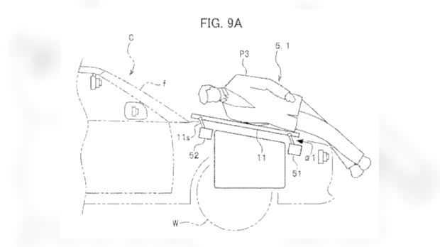
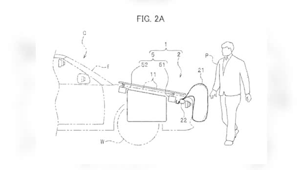
据悉,本田正在研发一项外部行人保护系统。从专利图中可以看出,该系统结合了可以在车头外部展开的全气气囊,在车辆撞到人或物时,可以减轻对行人、骑行者以及摩托车车手的伤害。如果该安全气囊能够顺利量产,将会成为汽车外部行人的一种有效安全保障。



根据专利说明,车辆配备的传感器还能够测量出与车辆发生碰撞的人或物的距离和大小,这样就能够决定外部安全气囊的部署强度或展开速度。此外,保护系统还配备一种防止行人从车顶或引擎盖上滑下来的机制。如果行人被撞到,可以防止其滚到汽车前车轮下,避免造成进一步伤害。

除了本田之外,也有其他车企及零部件企业研发外部安全装置。采埃孚就开发出外置侧面安全气囊,能在车辆撞击前数毫秒内启动。该气囊产品的工作原理是新增一个防撞缓冲区,将侧面碰撞的冲击力能最多减轻40%,从而能够有效保护乘客安全。

雷克萨斯很早之前也研发出弹起式发动机罩,在车头位置的传感器感受到压力后,引擎盖会自动弹起来,起到保护行人的作用,雷克萨斯ES等车型就有装配。(编译/汽车之家 李争光)
文章标签
点赞
评论
收藏
分享
举报/纠错
作者其他作品
扫码下载汽车之家App
© 2026 汽车之家 www.huanglqi.top
京公网安备 11010802000104号
京ICP备09113703号-1
信息网络传播视听节目许可证: 0110553
广播电视节目制作经营许可证
公司名称:北京车之家信息技术有限公司
中央网信办违法和不良信息举报中心
违法和不良信息举报电话:400-868-5856
举报邮箱:jubao@autohome.com.cn
京ICP备09113703号-1
信息网络传播视听节目许可证: 0110553
广播电视节目制作经营许可证
公司名称:北京车之家信息技术有限公司
中央网信办违法和不良信息举报中心
违法和不良信息举报电话:400-868-5856
举报邮箱:jubao@autohome.com.cn

