点赞
评论
收藏
分享
当前位置:
新专利曝蔚来新车或将配备副驾娱乐屏
胡永彬
原创 · 0浏览·2020-05-26 14:01关注
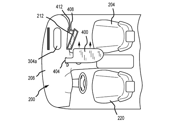
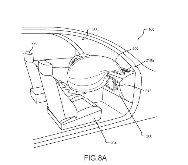
[汽车之家新能源] 日前,蔚来在美国获得了一项名为《自适应结构安全气囊》的专利,该专利想要通过特殊的气囊弹出方式,来避免副驾乘员在事故中与仪表台产生直接撞击。从专利图中,我们能够看出在副驾座椅正前方的仪表台上设计有一台屏幕,这预示着蔚来正在研究如何为配备副驾娱乐屏的车型带来与传统车型相同的安全保障。



这份专利是由蔚来在2019年12月提交申请,并于2020年5月份正式公布。从曝光的专利图中我们能够看到副驾娱乐屏并非完全固定在仪表台上,而是可以向主驾座位进行一定角度的倾斜。为了保证副驾乘客的安全,蔚来设计了一种结构气囊能够在事故中填充仪表台与副驾乘客之间的空间,保障安全。


值得一提的是,我们发现这份专利图中所引用的车型为一款轿车,而目前蔚来只推出过蔚来ET(参数|询价)纯电动轿车的概念版本,结合此前蔚来可能将于今年底推出“下一代”轿车的消息(传送门),我们推测该款轿车可能为蔚来ET7,而它或将会配备副驾娱乐屏。副驾娱乐屏的设计曾经在理想ONE以及保时捷Taycan上出现,未来或将成为汽车市场比较常见的一项增值配置。关于蔚来新车的最新资讯,请持续关注汽车之家的后续报道。(文/汽车之家 胡永彬)
文章标签
点赞
评论
收藏
分享
举报/纠错
作者其他作品
蔚来ET7相关视频
更多
论坛推荐
进入蔚来ET7论坛
扫码下载汽车之家App
© 2026 汽车之家 www.huanglqi.top
京公网安备 11010802000104号
京ICP备09113703号-1
信息网络传播视听节目许可证: 0110553
广播电视节目制作经营许可证
公司名称:北京车之家信息技术有限公司
中央网信办违法和不良信息举报中心
违法和不良信息举报电话:400-868-5856
举报邮箱:jubao@autohome.com.cn
京ICP备09113703号-1
信息网络传播视听节目许可证: 0110553
广播电视节目制作经营许可证
公司名称:北京车之家信息技术有限公司
中央网信办违法和不良信息举报中心
违法和不良信息举报电话:400-868-5856
举报邮箱:jubao@autohome.com.cn

