点赞
评论
收藏
分享
当前位置:
磁悬浮雨刮器?新专利或适配Cybertruck
阎明炜
原创 · 0浏览·2020-08-25 11:15关注
[汽车之家 行业]日前,据外媒报道,特斯拉一项将磁悬浮技术与雨刮器相结合的新型雨刮系统将适配于Cybertruck(参数|询价)车型。
『Cybertruck』
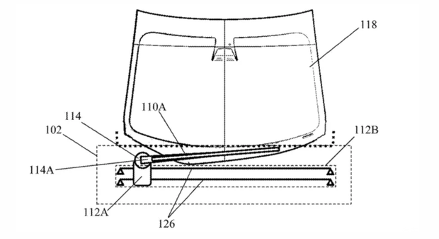
新的雨刮系统与传统的雨刮器工作原理不同,并非简单的以固定轴为中心旋转进行清扫,而是将一条磁悬浮导轨安装于前风挡玻璃下方,导轨上的缠绕电磁线圈带有一个金属块,有一根雨刮臂与其相连。当开启雨刮功能时,雨刮臂将调整至与电磁导轨相垂直的角度,在金属块通电后通过电流的控制在导轨上进行往复运动,清扫雨水。


『专利图纸』
据悉,这项专利能够避免传统雨刮器单点旋转后留下的工作盲区,使驾驶员的视野变得更清晰。根据特斯拉的专利申请内容,这种电磁雨刮系统从设计上减少了摩擦系数,要较传统雨刮器更省电节能,提高了电池的利用效率。
其实早在2019年9月特斯拉就提交了这项专利,但迟迟未见量产。据外媒透露,特斯拉指出该专利可能在即将发布的纯电动皮卡车型Cybertruck上首先进行搭载。
编辑点评:
一般来说,车企申请的技术专利通常要到很多年以后才会实现量产,而有的技术则根本不会在量产车型中出现。此次特斯拉宣称Cybertruck或将搭载新型雨刷系统,但据猜测,其纯电动皮卡车型或将使用更加稳妥与传统的技术。不管如何,等到11月22日,我们就看到这辆纯电动皮卡的真面目了。(信息来源:CarAdvice;编译/汽车之家 阎明炜)
文章标签
点赞
评论
收藏
分享
举报/纠错
作者其他作品
赛博越野旅行车相关视频
更多
论坛推荐
进入赛博越野旅行车论坛
扫码下载汽车之家App
© 2026 汽车之家 www.huanglqi.top
京公网安备 11010802000104号
京ICP备09113703号-1
信息网络传播视听节目许可证: 0110553
广播电视节目制作经营许可证
公司名称:北京车之家信息技术有限公司
中央网信办违法和不良信息举报中心
违法和不良信息举报电话:400-868-5856
举报邮箱:jubao@autohome.com.cn
京ICP备09113703号-1
信息网络传播视听节目许可证: 0110553
广播电视节目制作经营许可证
公司名称:北京车之家信息技术有限公司
中央网信办违法和不良信息举报中心
违法和不良信息举报电话:400-868-5856
举报邮箱:jubao@autohome.com.cn


