[汽车之家 行业] 日前,美国专利商标局批准了苹果公司一项新的专利申请,该项专利名为:Climate control system with slit-vent fluid delivery(带有狭缝气体传输的空调控制系统)。这项专利向我们展示了苹果公司对于车内空调系统的改进,同时外媒报道称这项专利还设置了可变的香氛系统。

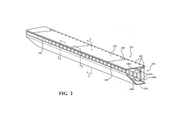
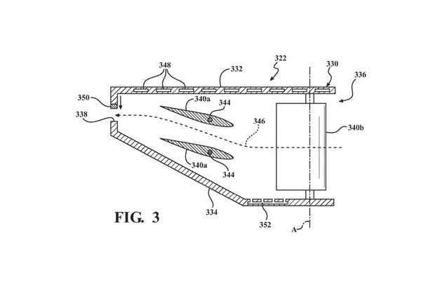
从相对应的专利申报图来看,苹果公司设计的这项空调专利拥有狭长的外观造型,如果未来投入运用,预计其将被设置在副驾驶前方的中控台部位。具体来看,此项专利更像是一种新型设计的空调管路系统,而内部含有横向和纵向的叶片可用于导风。这种设计不同于传统外置叶片的空调出风口,预计这样的叶片也可通过车机等方式进行控制。

与此同时,这样的设计在车内的设计也能够更加隐蔽,同时更高的导风效率也可能让空调在更短的时间内起效。此外,根据外媒的报道,苹果还为这个“创新”的空调设计加入了可变的香氛设计,预计这一功能的控制未来也将融入车机系统。在玩够了音响带来的听觉体验和氛围灯带来的视觉体验后,苹果又创新的开始改善车内乘客的嗅觉体验了?听上去很有意思。

除此之外,苹果公司已经在汽车技术领域申请了多项专利,包含种类繁多的车内配备,包括:多分段式天窗、可突出道路危险的前大灯系统、用于车内照明的TrueTone技术、乘客智能安全带以及车门力反馈铰链等等,使得我们对于未来汽车有了更加丰富的畅想。
编辑点评:
关于苹果公司造车的传闻已经不是一天两天,于是,我们又一次看到了苹果为汽车技术申请专利。从专利图来看,苹果公司对于空调技术的创新让我们看到了科技企业对于车辆设计理念带来的革新。而之于汽车与驾驶者的沟通,这或许也是继视觉和听觉等方面后,其在嗅觉方面的一次大胆尝试。当然,比起这些充满创意的装饰,或许苹果什么时候造出汽车,才更让人关心。(文/汽车之家 马艾骏)
京ICP备09113703号-1
信息网络传播视听节目许可证: 0110553
广播电视节目制作经营许可证
公司名称:北京车之家信息技术有限公司
中央网信办违法和不良信息举报中心
违法和不良信息举报电话:400-868-5856
举报邮箱:jubao@autohome.com.cn

