[汽车之家 新闻] 日前,我们从海外媒体获取了一张福特F-150(参数|询价)纯电版车型的预告图,新车采用了富有科技感的外观设计。根据此前的消息,福特首席运营官吉姆·法利(Jim Farley)曾表示新车预计将在2022年中期之前推出。

从预告图来看,福特F-150纯电版车型与不久前发布的中期改款F-150有着相同的前脸和发动机舱盖轮廓,因此新车也或将基于新款车型打造。但不同于燃油版车型,福特为电动版本的F-150加入了更富有科技感的外观设计,其中最引人注目的便是其贯穿整个前脸的LED灯带。可以看到,宽大的灯带在两侧与头灯相连,而内部则为封闭式的前格栅,使得福特F-150纯电版车型看上去富有硬汉气质。

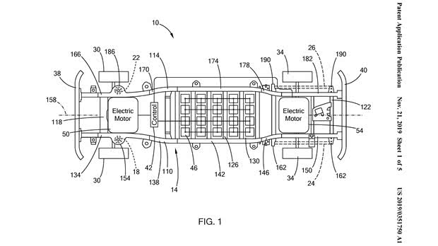
无论是官方消息还是民间传言,关于纯电动版的福特F-150的消息已是由来已久,而此次我们也通过预告图提前预知了新车的大致外观样式。此前,福特此前也申请了一个将电池包与电机置于车架之内的专利,这显然是为纯电版F-150的诞生所准备,以便让新车获得更大的续航里程和更灵活的车身尺寸。

关于纯电动版福特F-150的动力等相关信息目前还没有进一步消息,不过在2019年7月,福特曾发布了一台基于旧款车型打造的F-150电动版原型车。在宣传视频中,这辆原型车拖动了一列超过125万磅(约567吨)的火车车厢,因此未来量产版本的纯电动版福特F-150预计也将有强大的拖拽能力。
编辑点评:
2018年,福特宣布计划到2022年将有16款纯电动汽车推向市场,而随着时间的推移,我们也确实看到福特正在努力推进品牌的电动化进程。与此同时,皮卡作为美国市场最炙手可热的车型,福特自然也不会放过这一前景广阔的市场。当然,福特也不是首先想到这一点的公司,例如通用、特斯拉以及RIVIAN等品牌也先后推出了旗下的纯电动皮卡产品,因此福特F-150电动版未来也将面临一个严酷的市场。(文/汽车之家 马艾骏)
