点赞
评论
收藏
分享
当前位置:
将抑制锂电池热失控 特斯拉申请新专利
侯明浩
原创 · 0浏览·2020-09-19 09:15关注
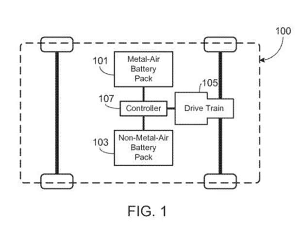
[汽车之家新能源] 日前,我们从外媒获悉,特斯拉申请的一项新专利希望通过将金属空气电池组连接到锂电池组上,从而降低因为锂电池过热而产生自燃的风险。

从原理上来看,这项专利其实非常简单,主要是利用金属空气电池需要空气才能工作的原理,将其与主电池包(即锂电池)通过管子和阀门进行连接,当锂电池发生热失控现象时,阀门就会自动打开,并允许热气体进入金属空气电池内,从而对气体进行冷却降温。

金属空气电池是以空气电析为正极、金属电极为负极,与燃料电池比较相似,其优点是比能量大、无污染。不过由于目前技术并不完善,也存在非常多的缺点,比如充电和放电速度比较缓慢、电压滞后、自放电率较大等。

『铝-空气电池』
事实上,金属空气电池本身还存在很多亟待解决的问题,对于能否有效的匹配到量产车上目前还要画一个问号,不过特斯拉的这项专利也为降低锂电池热失控现象提供了新的思路。(消息来源:insideevs;文/汽车之家 侯明浩)
文章标签
点赞
评论
收藏
分享
举报/纠错
作者其他作品
扫码下载汽车之家App
© 2026 汽车之家 www.huanglqi.top
京公网安备 11010802000104号
京ICP备09113703号-1
信息网络传播视听节目许可证: 0110553
广播电视节目制作经营许可证
公司名称:北京车之家信息技术有限公司
中央网信办违法和不良信息举报中心
违法和不良信息举报电话:400-868-5856
举报邮箱:jubao@autohome.com.cn
京ICP备09113703号-1
信息网络传播视听节目许可证: 0110553
广播电视节目制作经营许可证
公司名称:北京车之家信息技术有限公司
中央网信办违法和不良信息举报中心
违法和不良信息举报电话:400-868-5856
举报邮箱:jubao@autohome.com.cn

