点赞
评论
收藏
分享
当前位置:
彻底“破圈” 丰田发布遛狗机器人专利
杜安迪
原创 · 0浏览·2022-04-12 11:30关注
[汽车之家资讯] 日前,丰田发布了一款全新专利,出乎意料的是,这款专利并非专注于传统汽车市场,而是一款“破圈”产品——帮助你解决遛狗难题的机器人。
养宠物的朋友都知道,天气条件比较好时,和自己的宠物狗一起享受阳光是一件非常惬意的事,不过当天气情况比较恶劣时,遛狗的难题便出现了。丰田的这款遛狗机器人此时便排上了用场。可以看到,这款机器人支持多种“模式”,拥有丰富的功能,接下来我们就来依次了解一下。


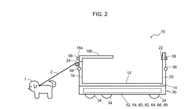
首先,该款机器人配有可伸缩的牵引线,同时,机器人周身集成了传感器。当我们不得不在车辆较多的路段遛狗时,它可以保护狗狗不受到往来车辆的伤害。


机器人可以支持多种遛狗模式,比如,它可以按照预设路线带狗狗外出玩耍。不仅如此,当狗狗走“累”了时,主人还可以将宠物放置在机器人前半部分,让它来“驾驶”机器人前进,当然,这样存在着一些安全隐患,主人可以站在后方区域操控机器人前进,您也可以理解为这是一种“懒人”模式。

朋友们想必都知道文明养狗的重要性,有时候,满地的便便会让行人感到十分不适,同时对于环境以及市容同样影响非常大。这款机器人将会精准解决这类问题,当狗狗小便时,它会通过喷雾器将尿液清洗干净;当狗狗大便时,它还可以自动收集便便,服务可以说是非常到位了。这么好的遛狗机器人,养宠物的你想拥有一台吗?(文/汽车之家 杜安迪)
文章标签
点赞
评论
收藏
分享
举报/纠错
