点赞
评论
收藏
分享
当前位置:
或减少零件 特斯拉多向单体浇铸机专利
尤冬青
原创 · 0浏览·2019-07-26 07:00关注
[汽车之家 新闻] 日前据外媒报道称,继新的布线结构后,特斯拉的又一项专利曝光。新专利为“用于制作车架的多向单体浇铸机”,特斯拉称,该专利或将大大减少机器人焊接零件的流程,从而提升产能。
『特斯拉Model Y』

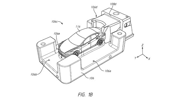
『多向单体浇铸机专利图』
就在近日,特斯拉刚刚公布了一项“新的布线结构”专利(跳转到该专利报道),新布线结构或将减少车辆线束的长度,从而便于机器人操作,而此次特斯拉的又一新专利同样致力于减少生产周期。特斯拉称,普通车架的金属零件需要被机器人焊接在一起,而多向单体浇铸机或将减少甚至结束“焊接”这一流程。


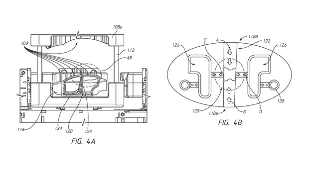
『多向单体浇铸机专利图』
据悉,早在去年,特斯拉CEO马斯克就曾表示该公司将进军用于汽车结构的铝铸件领域,如今的“多向单体浇铸机”似乎也验证了他的说法。但至于该制造方式未来会不会被应用于Model Y,目前还不得而知。(消息来源:insideevs;文/汽车之家 尤冬青)
文章标签
点赞
评论
收藏
分享
举报/纠错
作者其他作品
Model Y(海外)相关视频
更多
论坛推荐
进入Model Y(海外)论坛
扫码下载汽车之家App
© 2026 汽车之家 www.huanglqi.top
京公网安备 11010802000104号
京ICP备09113703号-1
信息网络传播视听节目许可证: 0110553
广播电视节目制作经营许可证
公司名称:北京车之家信息技术有限公司
中央网信办违法和不良信息举报中心
违法和不良信息举报电话:400-868-5856
举报邮箱:jubao@autohome.com.cn
京ICP备09113703号-1
信息网络传播视听节目许可证: 0110553
广播电视节目制作经营许可证
公司名称:北京车之家信息技术有限公司
中央网信办违法和不良信息举报中心
违法和不良信息举报电话:400-868-5856
举报邮箱:jubao@autohome.com.cn


